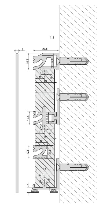
Lower profile (with PCV sealing)
product unavailable
add to wish list
Description
nr 031 005 05
Gasket UZ-16, sold separately
Download