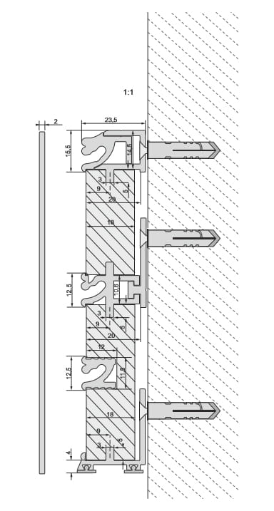
Let-in profile
product unavailable
add to wish list
Description
nr 031 016 05
Download