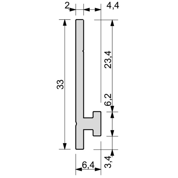
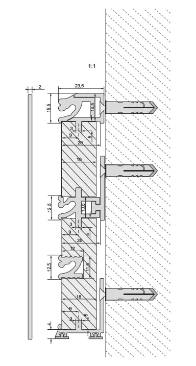
Assembly fixing
product unavailable
add to wish list
Description
nr 032 003 00
L=50 mm
Download